Nissan ARIYA 2024 Manuel utilisateur
8.8.3. Climatisation automatique
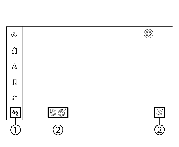
Vous pouvez utiliser les boutons du tableau de bord ou les touches de l'écran de climatisation pour commander la climatisation automatique.

Pour afficher l'écran de climatisation, appuyez sur la touche “
” (1) de l'écran tactile.
Vous pouvez aussi contrôler certains réglages de la climatisation en appuyant sur la touche “
” ou “
” (2) (selon modèles) alors qu'un autre écran que celui de la climatisation est affiché.


- 1.Touche/Bouton de réglage de température (côté conducteur)
- 2.
(dégivrage avant) - 3.
(désembuage de lunette arrière) - (Reportez-vous à .)
- 4.Boutons/Touches de réglage de la vitesse de ventilation
- 5.Touche/Bouton ON·OFF
- 6.Bouton <AUTO> (automatique)/Touche [AUTO] (automatique)
- 7.Touche/Bouton de réglage d'admission d'air
- 8.Touche/Bouton de réglage de température (côté passager)
- 9.Touche de volant chauffant (selon modèles)
- (Reportez-vous à .)
- 10.Touche de réglage de siège avant (selon modèles)
- (Reportez-vous à ou .)
- 11.Touche [DRIVER ZONE]
- 12.Touche de réglage de la répartition d'air
- 13.Touche de pare-brise chauffant (selon modèles)
- (Reportez-vous à .)
- 14.Touche [REAR] (selon modèles)
- (Reportez-vous à .)
- 15.Touche [A/C] (climatisation)
- 16.Touche [FAN ONLY]
- 17.Touche [SYNC] (synchroniser)
La disposition des boutons et de l'écran indiquée dans l'illustration concerne les modèles avec conduite à gauche. Pour les modèles avec conduite à droite, la disposition des boutons et de l'écran est inversée.
Manuel utilisateur Nissan